泰凯英IPO | 实控人及高管履历或虚假陈述,专利数行业垫底
中沪网了解到,北交所上市委员会定于2025年7月25日上午9时召开2025年第15次审议会议,届时将审议青岛泰凯英专用轮胎股份有限公司(以下简称“泰凯英”)上会事项。
据悉,泰凯英是一家以技术创新为驱动,聚焦于全球矿业及建筑业轮胎市场,专业从事矿山及建筑轮胎的设计、研发、销售与服务的企业。公司产品范畴属于工程子午线轮胎和全钢卡车轮胎。
据招股书显示,泰凯英本次募集资金39,010.32万元,募集资金扣除发行费用后将用于公司全系列场景专用轮胎产品升级项目、专用轮胎创新技术研发中心建设项目、专用轮胎智能化管理系统提升项目,具体如下:
(截图拉源于泰凯英招股书)
中沪网查阅相关资料后,发现泰凯英还存在以下问题,收入以境外为主,负债增速远超营收增速;实控人及高管履历或虚假陈述;研发投入及团队远不及同行,专利数行业垫底。
收入以境外为主,负债增速远超营收增速
据招股书财务数据显示,2022年、2023年、2024年(以下简称“报告期”),泰凯英实现营业收入分别为180,343.04万元、203,137.71万元、229,531.32万元;同期净利润分别为10,834.41万元、13,792.89万元、15,665.48万元。
泰凯英销售收入主要以境外为主。报告期各期,公司境外收入分别为133,922.55万元、146,676.81万元、148,343.41万元,占当期主营业务收入的比例分别为74.36%、72.44%、64.80%。海外出口业务主要以美元进行贸易结算,受汇率波动的影响,公司产生一定的汇兑损益。报告期各期,公司汇兑损益金额分别为-1,175.82万元、-960.56万元和-148.24万元。
除此之外,报告期内,泰凯英资产负债率一直居高不下。报告期各期末,公司在资产负债率分别为52.80%、55.81%和57.90%,呈现逐年增长的趋势,而且一直高于50%。报告期各期末,公司负债总额分别为47,817.72万元、67,263.50万元和95,358.80万元,公司负债总额增速远超公司营业收入增速。
实控人及高管履历或虚假陈述
本次发行前,王传铸通过泰凯英控股间接控制公司72.94%股份,王传铸的配偶郭永芳直接持有公司1,198.6091万股股份,占公司总股本的6.77%,王传铸与郭永芳合计控制公司79.71%的股份,为公司的实际控制人,王传铸现任公司董事长、总经理,郭永芳现任公司董事,王传铸、郭永芳系夫妻关系。因此泰凯英为一家“夫妻式”企业。
据招股书王传铸、郭永芳简历显示,王传铸、郭永芳两人均曾在三角轮胎股份有限公司(以下简称“三角轮胎”)处任职,其中1992年9月至2004年8月,王传铸历任三角轮胎子午胎技术一处副处长、处长,博士后科研工作站办公室主任、轮胎力学研究室主任、轮胎噪声研究室主任、技术开发中心副主任、子午胎工程副总工程师;1994年7月至2004年8月,郭永芳担任三角轮胎子午胎技术二处配方及新材料研究工程师、高级工程师。
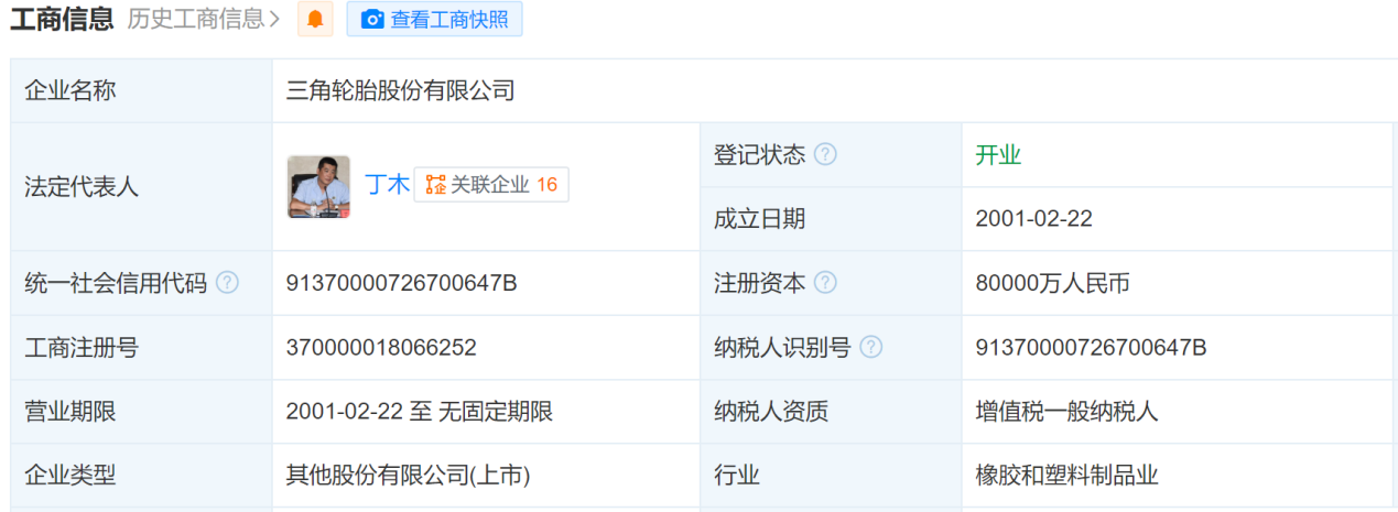
值得注意的是,据三角轮胎工商信息显示,三角轮胎成立于2001年2月22日,也就是说,三角轮胎尚未成立,王传铸、郭永芳便开始任职于三角轮胎,这似乎并不符合情理?
(截图拉源于三角轮胎工商信息)
对此,有相关专业人士表示,企业实控人的履历确实非常重要,因为高管履历出现有违事实性矛盾。可能会让市场怀疑企业的诚信程度,因此无论如何,企业对于披露的任何信息都应更严谨。
事实上,泰凯英招股书披露的高管简历中除了实控人履历存在上述问题外,公司董事、副总经理张东兴的履历也存在同样的问题。
据招股书张东兴简历显示,1997年11月至2002年10月,张东兴曾担任山东巨菱进出口有限公司(以下简称“山东巨菱”)驻菲律宾办事处主任。据山东巨菱工商信息显示,山东巨菱成立于1999年5月14日,同样张东兴开始任职于山东巨菱的时间比山东巨菱成立的时间早了一年多。
(截图拉源于山东巨菱工商信息)
研发投入及团队远不及同行,专利数行业垫底
泰凯英在招股书中自称是一家以技术创新为驱动的企业,但是公司在研发上面的投入却显得有点吝啬。
据招股书显示,报告期各期,泰凯英研发费用分别为3,201.70万元、4,187.78万元和4,812.37万元,占当期营业收入的比例分别为1.78%、2.06%和2.10%,不足3%。而同期同行业可比公司研发费用率均值分别为3.13%、3.00%和3.15%,泰凯英研发费用率明显低于同行业可比公司均值。
众所周知,不断保持研发创新是一家企业提升自身核心竞争力重要举措。而研发费用的投入将直接影响到一家企业的科研水平以及研发创新能力的高低。
此外,泰凯英的研发成果上相较于同行业来比较也显得比较逊色。泰凯英招股书将三角轮胎、赛轮轮胎、风神股份、贵州轮胎、通用股份、玲珑轮胎认定为同行业可比公司。
截止2024年12月31日,三角轮胎共获得1,073项专利,其中发明专利101项、国际专利52项;赛轮轮胎在国内外拥有有效授权专利2,008项,其中发明专利177项;风神股份拥有专利328项,其中发明专利25项;贵州轮胎拥有有效期的技术专利共269项,其中发明专利22项;通用股份累计获得授权专利436项,其中发明专利86项;玲珑轮胎拥有有效期的专利共785项,其中发明专利148项。而截止2024年12月31日,公司拥有国内外共165项轮胎专利,其中发明专利28项,境外专利4项。从数量上来看,泰凯英专利数处于行业垫底的情况。
另外,三角轮胎2024年研发投入4.32亿元,占营业收入4.26%;研发人员的数量863人,占总人数比例为14.74%。赛轮轮胎2024年研发投入10.13亿元,占营业收入3.18%;研发人员数量2,762人,占总人数比例13.10%。风神股份2024年研发投入2.91亿元,占营业收入4.33%;研发人员数量663人,占总人数比例为11.19%。贵州轮胎2024年研发投入3.89亿元,占营业收入3.63%;研发人员数量670人,占总人数比例为10.11%。通用股份2024年研发投入1.45亿元,占营业收入2.09%;研发人员数量699人,占总人数比例为12.47%。玲珑轮胎2024年研发投入9.20亿元,占营业收入4.17%;研发人员数量2,240人,占总人数比例为12.60%。泰凯英2024年研发投入0.48亿元,占营业收入2.10%;研发人员数量74人,占总人数比例为24.03%。无论是研发投入还是研发团队上泰凯英均远远落后于同行业可比公司。试问在其他可比同行企业在近年来大规模投入研发费用的当下,基本面并不出众的泰凯英电仅依靠行业垫底的研发投入便能立足于行业并与其他企业同台竞争?
免责声明: 如有关于作品内容、版权或其它问题请于作品发布后的30日内与我们联系。

